安全套**体积和压力的测量
安全套的检测方式都属于**行的,也就是经过检测后的安全套都已经是作废的,所以安全套的检测都是抽样的检测,下面是避孕套**体积和压力的测定方法:
避孕套**体积和压力的测量原理:
用规定长度的避孕套进行充气,记录避孕套充气至破裂所需体积和压力。
避孕套**体积和压力的测量仪器:
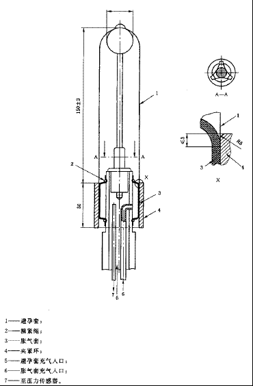
一、充气装置,如下图,适合于以干净的无油、去湿的空气,以规定的速率对避孕套进行充气,且具有测量体积和压力的装置且具有下列特征:
避孕套**测试合适装置示例图

a)压力传感器,具有在避孕套和传感器之间没有压力差。
b)具有记录充人空气体积的装置,且测量仪器和避孕套之间没有任何压差,从而保证测试时充入避孕套所计量的空气体积,或者以相当于避孕套内的压力,而不以可能偏高的在线压力,来计算的空气体积 。
c)一根合适长度的杆,顶端有直径为25m m的光滑球体或半球体该杆作为将展开的避孕套固定到充气装置上时支撑避孕套之用,保证从夹持点位置的避孕套除精囊以外的充气长度为(1 50 士 3 ) mm .
d) 压力和体积测量装置具有:
1) 体积大于10dm'的最大允许误差为士3%,无论用何种方式来测量体积;
2) 避孕套**时压力测试的最大允许误差为士0.05 kPa。
二、夹紧装置,例如夹紧环,没有锋利的边缘和突出物。
建议材料使用透明塑料。夹紧环放人固定装置上时不应使避孕套伸张。如果使用带有胀气套的固定装置,夹紧环的内径应为(36 40)mm,建议其高度为50mm,但高出胀气套的长度不超过3 mm。胀气套在不胀气时的大小应能使避孕套在其上自由展开。
三、充气试验箱,具有在充气时能够观察避孕套的设施,且足够大小使避孕套自由膨胀而不接触箱体的任何部分。
避孕套**体积和压力的测量步骤:
1. 试验在温度(25士5)℃下进行。
2. 将包装内的避孕套挤离撕口处,撕开包装并取出避孕套在任何情况下都不能使用剪刀或锋利的器具打开包装。
3. 建议在处理避孕套时戴上合适的手套或指套。发生争议时,必须戴上手套
4. 展开避孕套时应确保其在任何方向上不受过度伸张。注:避孕套也可以直接在试验仪器的圆杆上展开。
5. 悬挂避孕套于圆杆上,并固定在固定装置上。小心放置夹紧环到固定装置上,以免损伤或伸张避孕套以司的充气速率进行充气。检查并确信避孕套在胀大且不存在任何明显的渗漏。
如果避孕套存在任何明显的渗漏,或在充气过程中出现漏气即终止试验,则认为该避孕套不合格,其**体积和压力都记为零。
6. 如果避孕套不漏气,测量并记录**体积和压力。**体积以立方分米表示,化整到0.5dm3;**压力以千帕表示,化整到0.05 kPa。
按照GB7544-2004的规定标准,未老化的安全套要求**体积为18dm3。
>> 点击查看安全套专题更多信息
关于 安全套专题 安全套生产工艺  的资讯
- 你用的安全套不避孕,竟是因为……2020/09/17
- 惹火安全套广告图片欣赏,无节操有内涵2016/01/04
- 美国研发出新型安全套2015/12/04
- 广告也能涨姿势,杜蕾斯在广告大赛获奖2015/07/24
- 政协委员:防艾滋,性教育应该写入教学2015/03/06
- 安全套创意广告欣赏(1)2015/01/30
- 安全套创意广告欣赏(2)2015/01/30
- 安全套创意广告欣赏(3)2015/01/30
- 从生产工艺上对传统安全套进行分类2014/12/30
- 业内人士教你如何鉴别正品安全套2014/12/29







